B-Mak Welding Solutions Engineered for Performance

Whether it’s rotation, positioning, or automation, B-Mak’s welding solutions bring power, precision, and efficiency to every weld. Engineered to perform. Built to last.

Mini BCR- Pipe Rotator For Welding

Compact Design. Smart Alignment. Perfect Rotation.

The Mini BCR

General Features

The Mini Conventional Welding Rotator offers an economical and easy-to-use solution designed for lower capacities and smaller diameter workpieces, ensuring smooth rotation and reliable welding performance in compact setups.

● Manual Diameter Adjustment — quick and simple range setting using dual-hole positioning.
● Adjustable Wheel Rotation Speed — ensures smooth and precise control for various workpieces.
● High-Quality Polyurethane Wheels — designed to absorb shocks and vibrations, protecting both equipment and workpiece.
● 3 m Power Cable — ready for fast connection and flexible setup.
● Durable DC Motor — delivers stable, efficient, and consistent performance.

Mini-BCR

Sym

Unit

BCR-1,2

BCR-2

Capacity

 

ton

 

1,2

2

Max. Load (Drive Unit)

 

t/unit

 

0,6

1

Max. Load (Idler Unit)

 

t/unit

 

0,6

1

No. of Driwen

WD

No.

1WD

 

1WD

Rotation Speed

min-max

 

mm /min

60-1600

100-1420

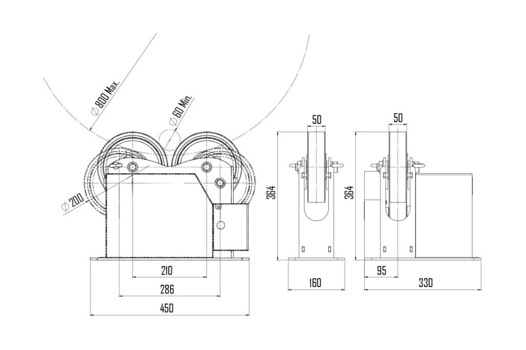
Diameter Range

Ød min

ØD max

mm

 

60-800

150-900

Wheel Diameter

ØF

mm

 

200

200

Wheel Width

 

G

 

mm

 

50

50

Wheel Coating

 

 

PU

 

PU

Length (Drive Unit)

A

mm

 

450

530

Length (Idler Unit)

 

B

 

mm

 

450

510

Width (Drive Unit)

E

 

mm

330

370

Width (Idler Unit)

 

C

 

mm

 

160

160

Height

H

 

mm

 

364

391

Motor Power

P

 

Watt

100

250

Weight

W

 

kg

 

60

90