B-Mak Welding Solutions Engineered for Performance
Whether it’s rotation, positioning, or automation, B-Mak’s welding solutions bring power, precision, and efficiency to every weld. Engineered to perform. Built to last.
BTP-Tube Welding Positioner
Perfect Positioning. Flawless Tube Welding.


The BTP
General Features
360° Worktable Rotation: Full rotational capability for precise positioning and consistent welding results.
Manual Height Adjustment: Easily set the optimal working height for every operation.
Adjustable Rotation Speed: Fine-tune table speed for maximum control and weld quality.
Digital Speed Display: Conveniently monitor rotation speed on the electrical cabinet display.
5 m Handbox Remote Control: Provides comfortable and safe operation at a distance.
5 m Power Cable: Flexible connection for easy installation and mobility.
Brake & Fan-Cooled Asynchronous Motor: Ensures reliable performance, extended motor life, and smooth motion.
Welding Earthing Group: Delivers safe and stable grounding during all welding operations.
Optional Control Units
● DFPSE-Double Foot Pedal with Stick and Stop (3m)
● OHC-Overhead Hangable Control
● WRC – Wireless Remote Control
Technical Data
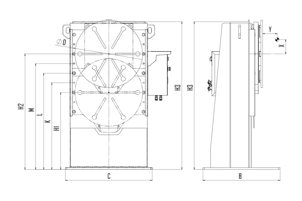
BTP | Sym | Unit | BTP1,5-2AX |
Capacity |
| kg
| 1500
|
Rotation Speed |
| mm/min
| 0,15 – 1,3
|
Max.Rotational Torque
|
| Nm
| 2290
|
Max.Axial Run-Out | X-Y
| Nm | 150-300
|
Max. Welding Current |
| Amp
| 700
|
Table Plate Diameter | ØD
|
| 700
|
Height Min. (1 st Level ) – Max (5th Level) | (H1-H2) | mm
| 800-1200
|
Rotator Frame Height 2 nd Level
| K
| mm
| 900
|
Rotator Frame Height 3rd Level | L | mm
| 1000
|
Rotator Frame Height 4th Level | M | mm
| 1100
|
Length
| C
| mm
| 900
|
Width | B
| mm | 800 |
Height
| H3
| mm
| 1535
|
Motor Power of Table | kW
| mm
| 0,55
|
Motor Power of Table | kg
| kg
| 640 |